4.1 函数头
static char whereOrName(sqlite3 db, char zWhere, char zConstant)
这个函数是用于创建表达式形式的文本:名称= < constant1 >或名称= < constant2 >或…
4.2 工作流程
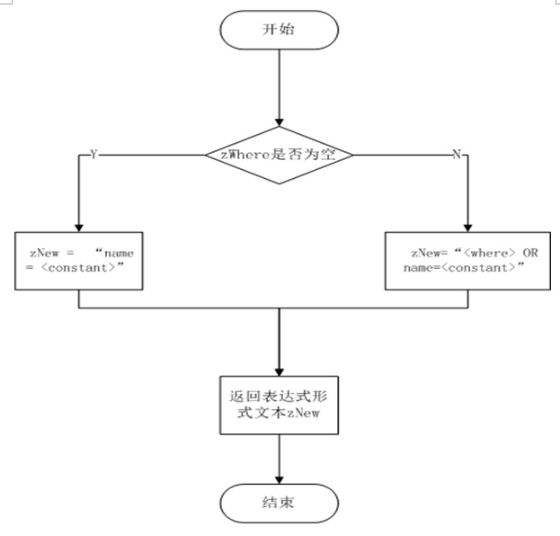
(1)如果参数zWhere是NULL,那么指针包含文本字符串返回“name = <常数> ", 这个地方的<常数>是引用版本的字符串作为参数传递的zConstant。
(2)返回的缓冲区分配使用sqlite3DbMalloc()。
(3)如果参数zWhere不为空,则返回的字符串是"
(4)在这种情况下,返回之前,zWhere传递给sqlite3DbFree()
(5)返回新的表达式文本zNew
如图为whereOrName函数实现流程
